配件详情
配件信息
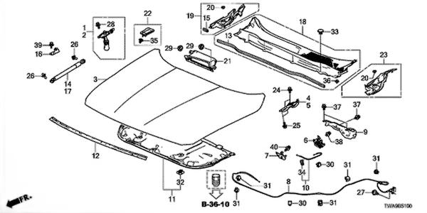
OE:95B614724D
商品详情
适配车型
| 品牌 | 车系 | 车型 | 年款 | 排量 | 价格 | 操作 |
|---|---|---|---|---|---|---|
| 保时捷 | Macan | 2020款 Macan Turbo 2.9T | 2020 | 2.9T | 92.50万 | 查看 |
| 保时捷 | Macan | 2020款 Macan GTS 2.9T | 2020 | 2.9T | 76.80万 | 查看 |
| 保时捷 | Macan | 2018款 Macan 2.0T | 2018 | 2.0T | 54.50万 | 查看 |
| 保时捷 | Macan | 2018款 Macan S 3.0T | 2018 | 3.0T | 65.10万 | 查看 |
水阀门 




















