配件详情
配件信息
OE:A2076730421
商品详情
适配车型
| 品牌 | 车系 | 车型 | 年款 | 排量 | 价格 | 操作 |
|---|
热门商品
-

密封轨道内部右侧(奔驰E级(进口))OE:A2076730421
¥ 111.00 -

左后门饰板OE:A2076905925
¥ 167.00 -

侧窗玻璃(左)OE:A2076700310
¥ 167.00 -

拉式支座左侧锁止装置(奔驰E级(进口))OE:A2077700122
¥ 111.00 -

行李箱盖铰链(右)OE:A2077501028
¥ 185.00 -

后侧围玻璃胶条(左)OE:A2076730383
¥ 139.00 -

举升门壳OE:670050E190
¥ 792.00 -

散热器OE:19010RZPG51
¥ 1030.00 -

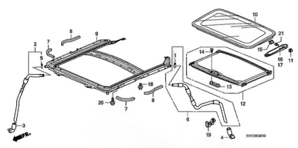
天窗玻璃OE:70200SWAJ01
¥ 555.00 -

车顶前流水槽(左)OE:75240SWA003
¥ 96.00
水阀门 








